Escribe: Audio inalámbrico
Certificación: Otros
Potencia de salida: 160 mW
Size:48,1*33,9
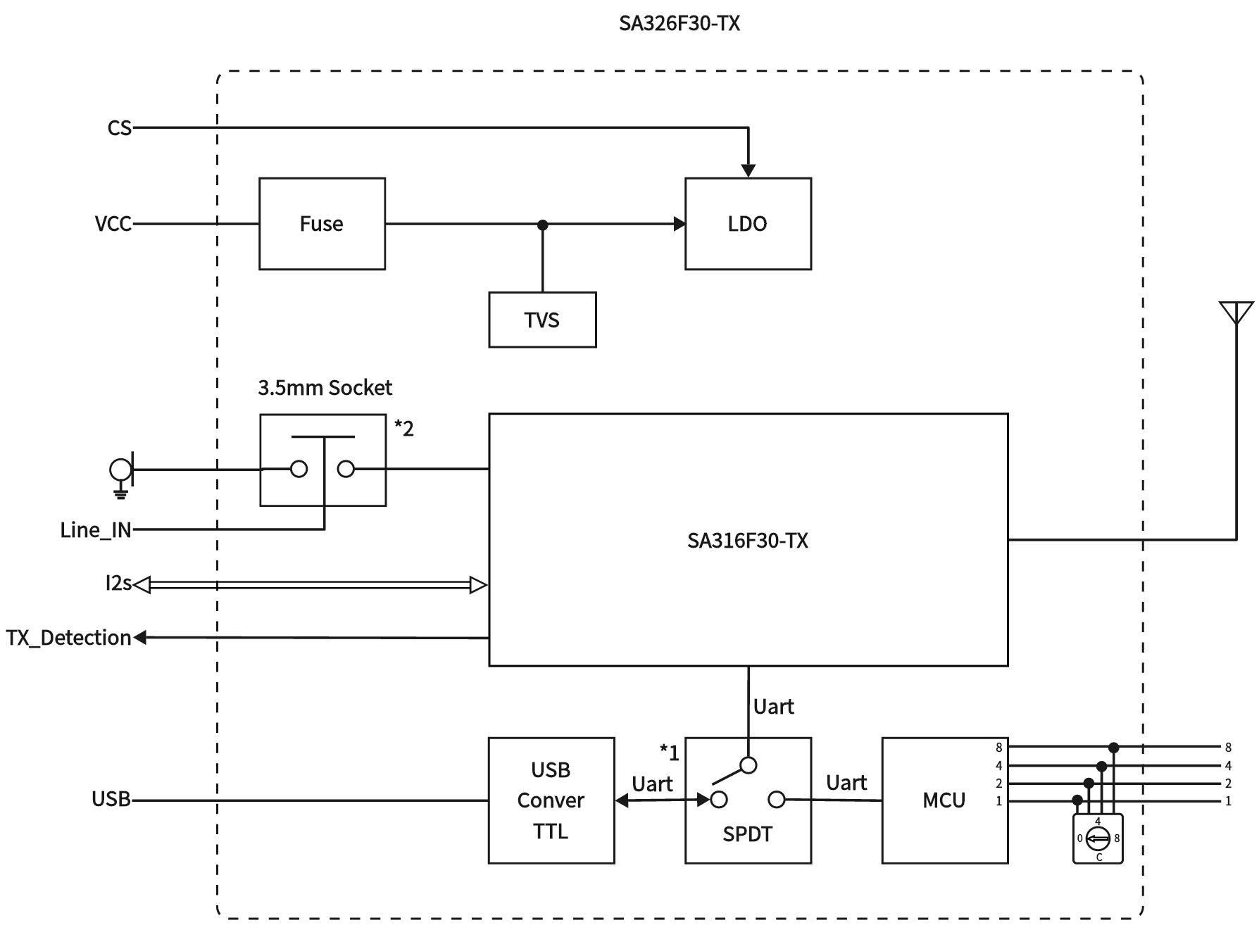
NiceRF lanzó el nuevo módulo de audio inalámbrico SA326 de baja latencia, larga distancia, alta frecuencia de muestreo y alta fidelidad. Los productos de la serie SA326 se dividen en el módulo transmisor SA326-TX y el módulo receptor SA326-RX. Este producto es una placa de aplicación para los módulos SA316-TX y SA316-RX. Funciona tras el encendido. También se puede configurar directamente la frecuencia del módulo mediante software para PC. El tamaño del sonido y otros parámetros simplifican enormemente el desarrollo del usuario, y este producto se utiliza ampliamente en situaciones con requisitos de calidad de sonido relativamente altos.
Parámetro | Condiciones de prueba | Mín . | Típico . | Máx . | Unidad |
Rango de voltaje de funcionamiento | 3.3 | 4.2 | 5 | V | |
Rango de temperatura de trabajo | -20 | 25 | 60 | °C | |
Rango de frecuencia de operación | @UHF | 500 | 980 | megahercio | |
@VHF | 160 | 270 | megahercio | ||
Retardo de transmisión y recepción de audio | 4 | EM | |||
Velocidad en baudios del puerto serie | 9600 | puntos básicos | |||
Consumo actual | |||||
Corriente de reposo ( SA326-RX) | < 45 | uA | |||
Corriente de reposo ( SA326F30-TX ) | < 20 | uA | |||
Corriente de recepción ( SA326-RX) | @VCC= 4,2 V | < 1 40 | mamá | ||
Corriente de transmisión ( SA326-TX ) | @ No Transmitiendo | < 75 | mamá | ||
@ Durante la transmisión | <1 20 | mamá | |||
Corriente de emisión ( SA326F30-TX ) | @No transmite,5v | < 75 | mamá | ||
@ Durante la transmisión , 5v 30dBm | < 700 | mamá | |||
Parámetro de transmisión | |||||
Potencia de transmisión | @VCC= 4,2 V | 9 | 1 0 | 11 | dBm |
@VCC= 5,0 V | 29 | 30 | 31 | dBm | |
rango de potencia de transmisión | @VCC= 4,2 V | 0 | 10 | dBm | |
@VCC= 5,0 V | 20 | 30 | dBm | ||
Ancho de banda de emisión ( BW) | 300 | kHz | |||
Relación de potencia del canal adyacente ( ACPR ) | @600 kHz | -6 0 | dB c | ||
Voltaje máximo de entrada del micrófono | 0.3 | 1.5 | Vrms | ||
Rango de respuesta de frecuencia de audio | 30 | 20k | Hz | ||
Parámetros de recepción | |||||
Sensibilidad de recepción | - 96 | dBm | |||
Amplitud de salida de audio (diferencial) | 400 | mV rms | |||
Resistencia de la unidad de salida de audio | 600 | Ohm | |||
Resistencia de conducción LOUT+,ROUT+ | 16-32 | Ohm | |||
Resistencia de conducción SPKP, SPKN | 4-8 | Ohm | |||
Relación señal-ruido (SNR) | @1 kHz , | 86 | dB | ||
Distorsión armónica total (THD) | @48K Frecuencia de muestreo e | 0.07 | % | ||
SA326F30-TX

SA326-RX

SA326F30-TX

Pin N.º . | Nombre del pin | E/S | Nivel estándar | Descripción |
1, 2, 8, 12, 18 | Tierra | 0 | Conecte el polo negativo de la fuente de alimentación. | |
3 | CAROLINA DEL NORTE | |||
4 | 1 | I | 0-3,3 V | Codificación de frecuencia 16 canales 8421, el primer dígito, salida predeterminada "1" |
5 | 2 | I | 0-3,3 V | Codificación de frecuencia 8421 de 16 canales, el segundo bit, salida predeterminada "1" |
6 | 4 | I | 0-3,3 V | Codificación de frecuencia 16 canales 8421, el 4º bit, salida predeterminada "1" |
7 | 8 | I | 0-3,3 V | Codificación de frecuencia 16 canales 8421, el octavo bit, salida predeterminada "1" |
9 | GPIO4 | Yo/0 | 0-3,3 V | GPIO4 con chip de audio interno |
10 | GPIO3 | E/S | 0-3,3 V | Conéctese a GPIO3 de SA316 F30 -TX, se puede configurar como SDIN cuando se usa el modo I2S |
11 | VCC | 3,3-5 V | El polo positivo de la fuente de alimentación externa. (Valor típico: 4 V) | |
13 | CS | I | 0-5 V | Conectado internamente al EN del LDO, reduce la latencia, pull-up interno, salida predeterminada "1" |
14 | TX_DE | Oh | 0-3,3 V | El pin indicador de transmisión está alto cuando transmite y bajo cuando no transmite. |
15 | GPIO1 | E/S | 0-3,3 V | Conectado internamente a GPIO1 de SA326F30-TX , cuando se usa el modo I2S, se puede configurar como SCK |
16 | GPIO0 | E/S | 0-3,3 V | Conectado internamente a GPIO0 de SA326F30-TX , cuando se usa el modo I2S, se puede configurar como LRCK |
17 | GPIO2 | E/S | 0-3,3 V | Conectado internamente a GPIO2 de SA326F30-TX , al utilizar el modo I2S, se puede configurar como MCLK |
19 | MIC_N | I | La entrada negativa del micrófono , se puede conectar al polo negativo del micrófono o a tierra. | |
20 | MIC_P | I | Terminal positivo de entrada de micrófono (la mejor señal es menor que 300 mVrms) |
SA326-RX

| Pin N.º | Nombre del pin | E/S | Nivel estándar | Descripción |
| 1 | 1 | I | 0-3,3 V | Codificación de frecuencia 16 canales 8421, el primer dígito, salida predeterminada "1" |
| 2 | 2 | I | 0-3,3 V | Codificación de frecuencia 8421 de 16 canales, el segundo bit, salida predeterminada "1" |
| 3 | 4 | I | 0-3,3 V | Codificación de frecuencia 16 canales 8421, el cuarto bit, salida predeterminada "1" |
| 4 | 8 | I | 0-3,3 V | Codificación de frecuencia de 16 canales 8421, el octavo bit, salida predeterminada "1" |
| 5 | GPIO4 | E/S | 0-3,3 V | Conectarse a GPIO4 de SA316-RX |
| 6 | GPIO3 | E/S | 0-3,3 V | Conectado internamente a GPIO3 de SA316-RX, se puede configurar como MCLK cuando se usa el modo I2S |
| 7 | GPIO2 | E/S | 0-3,3 V | Conectado internamente a GPIO2 de SA316-RX, cuando se usa el modo I2S, se puede configurar como SDIO |
| 8 | CS | E/S | 0-3,3 V | Conectado internamente al EN del LDO, reduce la latencia, pull-up interno, salida predeterminada "1" |
| 9 | Tierra | I | 0 | Conecte el polo negativo de la fuente de alimentación. |
| 10 | VCC | I | 3,3-6 V | El polo positivo de la fuente de alimentación externa. (Valor típico: 4 V) |
| 11 | GPIO1 | E/S | 0-3,3 V | Conectado internamente a GPIO1 de SA316-RX, cuando se utiliza el modo I2S, se puede configurar como SCK |
| 12 | GPIO0 | E/S | 0-3,3 V | Conectado internamente a GPIO0 de SA316-RX, cuando se usa el modo I2S, se puede configurar como LRCK |
| 13 | Tierra | I | 0 | Conecte el polo negativo de la fuente de alimentación. |
| 14 | LOUL LOUT+ | Oh | Conéctese a LOUT+ del SA316-RX, que puede controlar directamente los auriculares. | |
| 15 | Tierra | I | 0 | Conecte el polo negativo de la fuente de alimentación. |
| 16 | ROUT+ | Oh | Conéctese a ROUT+ del SA316-RX, que puede controlar directamente los auriculares. | |
| 17 | Tierra | I | 0 | Conecte el polo negativo de la fuente de alimentación. |
| 18 | VOL-ADJ | I | 3.33.3.3 V | Pin de ajuste de volumen, el módulo se ha conectado a un potenciómetro ajustable de 50K ohmios y se puede conectar un potenciómetro externo. |
| 19 | SPKN | Oh | Pin de salida del amplificador de potencia, altavoz externo de 4 ohmios u 8 ohmios de 2 W | |
| 20 | Partido Comunista de Pakistán | Oh | Pin de salida del amplificador de potencia, altavoz externo de 4 ohmios u 8 ohmios de 2 W |
SA326F30-TX

SA326-RX

política de privacidad
· Política de privacidad
Actualmente no hay contenido disponible
Correo electrónico:sales@nicerf.com
Teléfono:+86-755-23080616